加入收藏
|
设为首页
首页
事务公开
造价专题
业务办理
服务园地
交流互动
活动专栏
欢迎光临本网站
事务信息公开目录
组织机构
通知公告
政策法规
办事指南
监督与投诉
造价监管
计价标准
造价科技
资格管理
价格信息
办事指南
下载中心
全国公路造价人员管理平台
全国水运造价人员管理平台
综合管理系统
考试成绩查询
造价资格证书查询
材料价查询
下载中心
网站导航
招聘信息
工地现场实景
咨询服务
业务调查
联系我们
在线调查
活动留言
在线QQ
省站动态
地市动态
活动留言
站内搜索:
当前位置:
首页
>>
业务办理
>>
办事指南
>>
正文
业务办理
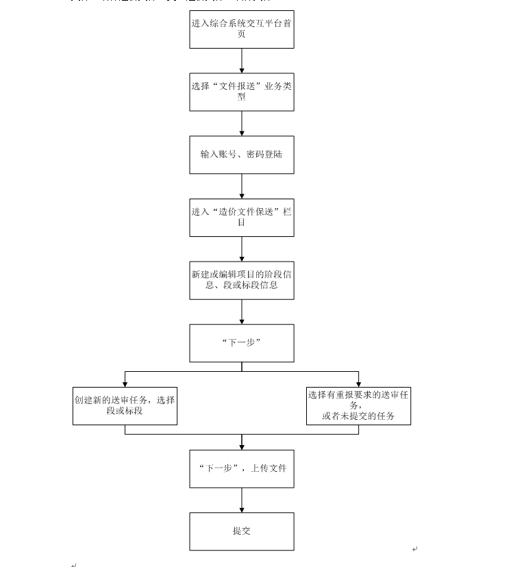
综合管理系统文件报送操作指引
日期: 2012年11月05日 14:39
文章来源:本站原创
浏览次数:[ ]
【
关闭
】